Rasaii Flow Lines Private Limited

RFL’s PTFE Sleeved Plug Valves are primarily ON/OFF valves designed for efficient handling of highly corrosive process mediums. They provide effective sealing in low pressure service. Sleeve are made from PTFE that acts as self -lubricant and hence, a maintenance free “fit and forget” valve.

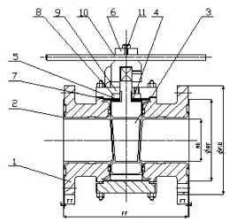
Valve Diagram

SPV

Wireframe Diagram

Valve Diagram
P.T.No Part Name Material
1
Valve Body
D.I / WCB
2
Teflon Lining
PFA / FEP
3
Teflon Lined Plug
D.I / WCB
4
Teflon Diaphragm
PTFE
5
Metal Diaphragm
CF8M
6
Handle Cup
M.S.
7
Teflon Washer
PTFE
8
Thrust Collar
CF8M
9
Cover Plate
D.I / WCB
10
Handle Rod
M.S.
11
Bolt
AISI 316
Class 150
NB
15
20
25
40
50
80
100
FF
108
118
127
165
178
203
229
FD
89
98
108
127
152
191
229
RF
35
43
51
73
92
127
157
FT
11
11
11
14
16
19
24
Material
Code
DI
WCB
Mat
A395
A216
Specn
DI
WCB

Notes

1. END CONNECTIONS, AS per ANSI 150, ASA 150, B 16.5.
2. Max. working temp. 180°c.
3. All Lined Portion are spark Tested to 10,000V.